Meet our attorneys

Marjolein van Lit-Elderson

  • Dutch & European Patent Attorney

  • UPC Representative

Marjolein applies her expertise in physics and mechanical engineering to support clients in sustainable energy technologies, guiding them through national and international patent procedures.
Marjolein van Lit-Elderson

Introducing Marjolein

After studying mechanical engineering/physics with a specialization in sustainable energy technologies, I briefly worked at an engineering firm before joining EP&C in 2016 and becoming a Dutch and European patent attorney in 2021.

This work suits me perfectly—I enjoy diving deep into remarkable inventions and zooming out to protect them in the right context. It’s deeply rewarding to secure legal positions that truly reflect an inventor’s efforts on technological, business, and market levels.

I thrive on the mix of technical, linguistic, strategic, and legal expertise this work demands, where even the smallest detail can make a huge difference. Sustainable energy technologies, given their urgency in the climate crisis, feel especially impactful—one good idea can drive transformative change.

The smallest detail can make a big difference at all levels

 

EP&C-121

Patented by Marjolein

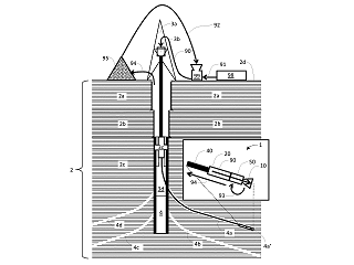
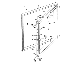
Marjolein's track record of securing patents for groundbreaking inventions speaks for itself. From tilt-and-turn windows to geothermal energy technology, her ability to turn ideas into reality shows her dedication to client success.

Mr Fill

Canopus

Fort Noxs

Specialist industries

Horticulture

Energy

Medtech

Construction

Maritime